| Segellat de junt entre vidre i fusteria | ||
| HSV010 | Segellat de junt entre vidre i fusteria | |
|
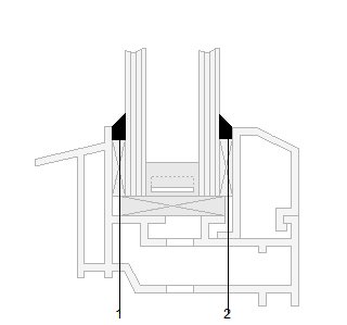
Segellat de junt interior entre vidre i fusteria, amb silicona sintètica incolora, mitjançant aplicació manual, amb pistola. | ||
Preu |
|
Exportació |
|

UNITAT D'OBRA HSV010: SEGELLAT DE JUNT ENTRE VIDRE I FUSTERIA.
CARACTERÍSTIQUES TÈCNIQUES
Segellat de junt interior entre vidre i fusteria, amb silicona sintètica incolora, mitjançant aplicació manual, amb pistola.
NORMATIVA D'APLICACIÓ
Execució: CTE. DB-HS Salubridad.
CRITERI D'AMIDAMENT EN PROJECTE
Longitud mesurada segons documentació gràfica de Projecte.
CONDICIONS PRÈVIES QUE S'HAN DE COMPLIR ABANS DE LA EXECUCIÓ DE LES UNITATS D'OBRA
AMBIENTALS.
Se suspendran els treballs quan la temperatura ambient sigui inferior a 5°C o superior a 30°C, plogui amb intensitat, neu o existeixi vent excessiu.
PROCÉS D'EXECUCIÓ
FASES D'EXECUCIÓ.
Preparació i neteja del junt. Protecció de les vores del junt. Segellat. Acabaments. Neteja final.
CONDICIONS DE TERMINACIÓ.
El segellat adquirirà el grau de consistència i enduriment reflectit en les fitxes tècniques del fabricant.
CRITERI D'AMIDAMENT EN OBRA I CONDICIONS D'ABONAMENT
Es mesurarà la longitud realment executada segons especificacions de Projecte.